| รายการอุณหภูมิกองแอป |
| วัสดุ | ในระดับปานกลาง℃ | วัสดุ | ในระดับปานกลาง℃ | |||||||||||||||||||||||||||||||||||||||||||||||||||
| บริเวณ-ซี | -20°ซ~ 95°ซ | บริเวณ-ยู | -5 ℃ ~ 45 ℃ | |||||||||||||||||||||||||||||||||||||||||||||||||||
| FRPP | -20°ซ~ 120°ซ | พีพีช | -20°ซ~ 110°ซ | |||||||||||||||||||||||||||||||||||||||||||||||||||
| พีวีดีเอฟ | 40 ℃ ~ 150 ℃ | |||||||||||||||||||||||||||||||||||||||||||||||||||||
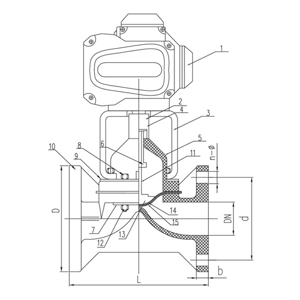
| คุณสมบัติโครงสร้างผลิตภัณฑ์ |
1. ไดอะแฟรมซีลของ F46 หรือ PFA สามารถตรวจสอบได้ที่ ≥ 120,000 และเสียงของระบบควบคุมกับ F4
2. กรีกการยกแบบเป็นตัวอย่างให้เปิดและปิดต่ำและพื้นที่ภายใน
3. อาจเป็นเพราะชูเอเตอร์จากเซิร์ฟเวอร์ผ่านคอมพิวเตอร์หรือศูนย์ควบคุมเป็นหลักและส่วนประกอบตัวกลางและสามารถเปิดและปิดวาล์วได้สะดวกตามความต้องการของลูกค้าแรงและรับประกันความปลอดภัยของพนักงานนอกสถานที่
| ตารางวัสดุของวัสดุ |
| ไม่ | ชื่อ | วัสดุ | ประเภท | |||||||||||||||||||||||||
| 1 | แอคชูเอเตอร์ไฟฟ้า | ที่ตั้ง | 1 | |||||||||||||||||||||||||
| 2 | ก้านสูบ | เมท | 2 | |||||||||||||||||||||||||
| 3 | แอคชูเอเตอร์ไฟฟ้า/นิวแมติก | เมท | 1 | |||||||||||||||||||||||||
| 4 | พิน เดอ | เมท | 1 | |||||||||||||||||||||||||
| 5 | ฝากระโปรง | พีพีช、PVC-C、PVC-U、PVDF、FRPP | 1 | |||||||||||||||||||||||||
| 6 | โย๊ค นัท | เอส เอส เอส สตีล、 ไมโครโฟน | 1 | |||||||||||||||||||||||||
| 7 | เทล | Q345、เหล็กเอสเอสเอสเอส | 2 | |||||||||||||||||||||||||
| 8 | ของญี่ปุ่น | เมท,StainlessSteel | 4 | |||||||||||||||||||||||||
| 9 | เทล | Q345、เหล็กเอสเอสเอสเอส | 2 | |||||||||||||||||||||||||
| 10 | ม | พีพีช、PVC-C、PVC-U、PVDF、FRPP | 1 | |||||||||||||||||||||||||
| 11 | ก้าน | เมท,StainlessSteel | 1 | |||||||||||||||||||||||||
| 12 | หมวกอ่อนนุช | เมท,StainlessSteel | 4 | |||||||||||||||||||||||||
| 13 | แผ่นวาล์ว | พีพีช,PVC-C,PVC-U FRPP, PVDF/ที่เหลือ | 1 | |||||||||||||||||||||||||
| 14 | ฟลิม | อีพีดีเอ็ม, เอฟพีเอ็ม | 1 | |||||||||||||||||||||||||
| 15 | ไดอะแฟรม | F46.PFA.PTFE | 1 | |||||||||||||||||||||||||
| รายการมิติ |
| ข้อมูลจำเพาะ | D | ง | ล | ข | n-Φ | |||||||||||||||||||||||
| 15 | 95 | 65 | 125 | 14 | 4-Φ14 | |||||||||||||||||||||||
| 20 | 105 | 75 | 135 | 18 | 4-Φ14 | |||||||||||||||||||||||
| 25 | 115 | 85 | 145 | 18 | 4-Φ14 | |||||||||||||||||||||||
| 32 | 135 | 100 | 160 | 18 | 4-Φ18 | |||||||||||||||||||||||
| 40 | 145 | 110 | 180 | 20 | 4-Φ18 | |||||||||||||||||||||||
| 50 | 160 | 125 | 210 | 22 | 4-Φ18 | |||||||||||||||||||||||
| 65 | 180 | 145 | 250 | 24 | 4-Φ18 | |||||||||||||||||||||||
| 80 | 195 | 160 | 300 | 24 | 8-Φ18 | |||||||||||||||||||||||
| 100 | 225 | 180 | 350 | 28 | 8-Φ18 | |||||||||||||||||||||||
| 125 | 245 | 210 | 400 | 30 | 8-18 | |||||||||||||||||||||||
| 150 | 280 | 240 | 455 | 30 | 8-Φ23x27 | |||||||||||||||||||||||
| 200 | 335 | 295 | 570 | 40 | 8-Φ22 | |||||||||||||||||||||||
| 250 | 390 | 350 | 680 | 38 | 12-Φ23 | |||||||||||||||||||||||
| 300 | 445 | 400 | 680 | 38 | 12-Φ23 | |||||||||||||||||||||||
Detecting Leaks and Cracks in Pipe Fittings To effectively inspect pipe fittings for leaks, cracks, or failures, combine visual inspection, pressure testing, a...
READ MOREEffect of Plastic Chemical Piping on Flow and Pressure In complex chemical distribution networks, Plastic Chemical Piping generally provides smoother flow with...
READ MOREChemical Compatibility Determines the Safety and Lifespan of a Plastic Valve Chemical compatibility is one of the most critical factors when selecting Plastic ...
READ MOREHigh Temperature Resistance — CPVC PIPE FITTINGS are specifically engineered to withstand the high temperatures commonly found in domestic, commercial, and in...
READ MORE